GUD電動真空(壓力)球閥
- 銷售:021-32051999
- 銷售:021-32050777
- 傳真:021-66099555
詳情介紹
- 產品介紹
- 服務承諾
- 訂貨流程
GUD型系列電動真空(壓力)球閥采用回轉型電動、電子調節式閥門驅動裝置,可以通過外接電源的切換(用手動轉位開關或電腦控制)或外部輸入信號,來實現閥門開、關或中間位置的控制,從而達到接通或切斷真空管路中氣流的目的。閥門為直通式,靠球面密封,因而既能用在真空狀態下,也能在低壓狀態下使用,并可任意位置安裝。
GUD型系列電動真空(壓力)球閥適用的工作介質為帶酸、堿性的氣體或液體。
主要技術性能
適用范圍(Pa) | 快卸法蘭(KF)2x105~1.3x10-5 |
閥門漏率(Pa.L/S) | ≤1.3x10-5 |
開閉時間(S) | DN≤32 20; DN≥40 30 |
介質溫度(℃) | 標準出廠:-30~+150 |
法蘭標準 | GB4982;GB/T6070 |
安裝位置 | 任意 |
控制電路 | 標準出廠:AC220V/50Hz開關型 |
信號反饋 | 標準出廠:帶無源觸點型 |

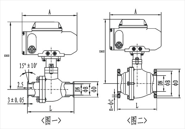
主要外形尺寸
快卸法蘭(KF)連接(GB4982)圖一
型號 | 通徑(DN) | ΦD | ΦB | H | L | A |
GUD-10/KF | 10 | 30 | 12.2 | 175 | 92 | 160 |
GUD-16/KF | 16 | 30 | 17.2 | 178 | 100 | |
GUD-25/KF | 25 | 40 | 26.2 | 193 | 114 | |
GUD-40/KF | 40 | 55 | 41.2 | 248 | 165 | 196 |
GUD-50/KF | 50 | 75 | 52.2 | 257 | 175 |
活套法蘭連接(GB/T6070)圖二
型號 | 通徑(DN) | ΦD | ΦB | H | L | A | n-ΦC |
GUD-10 | 10 | 55 | 40 | 170 | 92 | 160 | 4-6.5 |
GUD-16 | 16 | 60 | 45 | 178 | 100 | ||
GUD-20 | 20 | 65 | 50 | 191 | 114 | ||
GUD-25 | 25 | 70 | 55 | 193 | 114 | 4-9 | |
GUD-32 | 32 | 90 | 70 | 211 | 140 | ||
GUD-40 | 40 | 100 | 80 | 248 | 165 | 196 | |
GUD-50 | 50 | 110 | 90 | 257 | 175 | ||
GUD-63 | 63 | 130 | 110 | 275 | 186 | ||
GUD-80 | 80 | 145 | 125 | 300 | 198 | 8-9 | |
GUD-100 | 100 | 165 | 145 | 338 | 220 | ||
GUD-125 | 125 | 200 | 175 | 373 | 266 | 255 | 8-11 |
GUD-150 | 150 | 225 | 200 | 390 | 296 | ||
GUD-200 | 200 | 285 | 260 | 512 | 390 | 310 | 12-12 |
良好的品質、優良的服務 奇高為你創造更多價值!
“奇高閥門”的期望,不斷提升服務質量,精益求精,“真誠的服務”是“奇高”永恒的主題。“奇高”嚴格按照IS09001-2000 質量體系認證要求,質量嚴格把關, 責任到人,確保生產、銷售、服務的健康運行。加強與用戶溝通,竭誠為廣大客戶提供優良產品,貼心服務。特此我廠做出以下承諾:
產品標準:
產品嚴格按照中國GB、HG 標準和美國API等標準設計、制造、驗收。密封面硬度達到國家規定要求,寬度超過國家標準。
售前服務:
產品介紹,技術交流,非標產品設計,疑難解答。
售中服務:
守信合同,及時供貨,隨時保持與客戶聯系。 對特殊或復制的產品,我廠安排技術人員對用戶進行產品使用、故障排除
售后服務:
1、“奇高”牌產品品質期為自出廠起12個月,實行“三包”服務(包退、包換、保修)。
2、產品在使用中我廠定期組織技術、質檢人員進行訪問,征詢用戶對產品質量、 使用狀況、改進意見等方面的反饋, 以便進一步提高產品質量。
3、對用戶投訴質量問題,快速作出反應,售后服務人員在24-36小時(省外48小時)趕赴現場。
4、對售后服務,要求用戶填寫服務后的質量反饋信息表,并作出鑒定意見,以便提高奇高的服務質量。
1、客戶如對產品有特殊要求,須在訂貨合同中提供以下說明:
a、結構長度;
b、連接形式;
c、公稱直徑、全通徑、縮徑、管道尺寸;
d、運行介質及溫度、壓力范圍;
e、試驗、檢驗標準及其他要求
2、本廠可根據客戶特定要求配置各類驅動裝置。
3、如由客戶提供確定的閥門類型和型號時,客戶應正確說明其型號的含義和要求,在供需雙方理解一致的條件下簽訂合同。
4、期貨、訂貨的客戶請先來電函詳細告訴所需的閥門型號、規格、數量以及交貨時間、地點,并按總的30%預定金或全額貨款及時匯入我廠帳戶,其余貨款待發貨前匯入,以便及時安排發貨。
訂單流程:
1、客戶采購清單傳真至021-33872143,或來電咨詢 021-33872141
2、收到客戶采購清單,為客戶提供閥門型號選型與報價(價格清單)。
3、具體商定:交貨期、特殊要求等事宜。
訂貨須知:
1、客戶如對產品有特殊要求,須在訂貨合同中提供以下說明:
|
|||||
|
|||||
2、本廠可根據客戶特定要求配置各類驅動裝置。
|
|||||
3、如由客戶提供確定的閥門類型和型號時,客戶應正確說明其型號的含義和要求,在供需雙方理解一致的條件下簽訂合同。
|
|||||
4、期貨、訂貨的客戶請先來電函詳細告訴所需的閥門型號、規格、數量以及交貨時間、地點,并按總的30%預定金或全額貨款及時匯入我廠賬戶, 其余貨款待發貨前匯入,以便及時安排發貨。
|
售中服務:
守信合同,及時供貨,隨時保持與客戶聯系。
對特殊或復制的產品,我廠安排技術人員對用戶進行產品使用、故障排除
售后服務:
1、“奇高”產品品質期為自出廠起12個月,實行“三包”服務(包退、包換、保修)。
2、產品在使用中我廠定期組織技術、質檢人員進行訪問,征詢用戶對產品質量、使用狀況、改進意見等方面的反饋,
以便進一步提高產品質量。
3、對用戶投訴質量問題,快速作出反應,售后服務人員在24-36小時(省外48小時)趕赴現場。
4、對售后服務,要求用戶填寫服務后的質量反饋信息表,并作出鑒定意見,以便提高“奇高”的服務質量。
聲明 |
|