ZJHP氣動薄膜單座調節閥
- 銷售:021-32051999
- 銷售:021-32050777
- 傳真:021-66099555
詳情介紹
- 產品介紹
- 服務承諾
- 訂貨流程
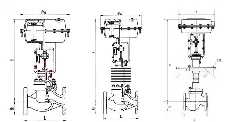
ZJHP氣動薄膜單座調節閥由氣動多彈簧薄膜執行機構和低流阻單座閥組成,新型執行機構高度低、重量輕、裝備簡便,新型閥體結構緊湊、流道通暢,具有大的流量系數。ZJHP精小型氣動單座調節閥操作穩定,具有可靠的動作特性,微小的閥座泄漏的流量特性、寬大的可調范圍等特點。它必將以Du特的優點在廣泛應用中取得質量高的控制效果。產品有標準型、調節切斷型、波紋管密封型、夾套保溫型等多種品種。適用液體溫度由-200℃到+560℃范圍內多種檔次。
氣動單座調節閥 主要零件材料
零件名稱 | 材料 | 溫度范圍 |
閥體上閥蓋 | HT200 | -20~200℃ |
ZG230-450 | -40~450℃ | |
ZG1Cr18Ni9Ti | -250~550℃ | |
ZG0Cr18Ni12Mo2Ti | -250~550℃ | |
閥芯、閥座 | 1Cr18Ni9 | -250~550℃ |
0Cr18Ni12Mo2Ti | -250~550℃ | |
填 料 | 聚四氟乙烯 | -40~200℃ |
膜 片 | 丁晴橡膠夾增強滌淪織物 | |
壓縮彈簧 | 60Si2Mn | |
膜 蓋 | A3 |
氣動單座調節閥 主要技術參數
公稱通徑mm | 20 | 25 | 40 | 50 | 65 | 80 | 100 | 150 | 200 | 250 | 300 | 350 | 400-500 | |||||||
閥座直徑mm | 10 | 12 | 15 | 20 | 25 | 32 | 40 | 50 | 65 | 80 | 100 | 125 | 150 | 200 | 250 | 300 | 可與蘭博公司 | |||
額定流量 | 直線 | 1.8 | 2.8 | 4.4 | 6.9 | 11 | 17.6 | 27.5 | 44 | 69 | 110 | 176 | 275 | 440 | 690 | 1000 | 1600 | |||
等百分比 | 1.6 | 2.5 | 4 | 6.3 | 10 | 16 | 25 | 40 | 63 | 100 | 160 | 250 | 400 | 630 | 900 | 1440 | ||||
公稱壓力MPa | 0.6 1.6 4.0 6.4 | |||||||||||||||||||
行程mm | 10 | 16 | 25 | 40 | 60 | 100 | ||||||||||||||
流量特性 | 直線、等百分比、快開型 | |||||||||||||||||||
介質溫度℃ | -40~230℃(常溫型),散熱片式230~450℃(中溫型),特殊訂貨-100~600℃ | |||||||||||||||||||
法蘭標準 | 符合JB78-59、JB79-59標準,可按JB/79.1-94、JB/79.2-94、ANSI、JIS、DIN 等標準訂貨生產 | |||||||||||||||||||
閥體材質 | PN | 0.6,1.6 | WCB(ZG230-450) CF3CF8 CF8M | |||||||||||||||||
4.0,6.4 | WCB(ZG230-450)、ZG1Cr18Ni9Ti、ZG0Cr18Ni12Mo2Ti CF8 CF8M | |||||||||||||||||||
閥體型式 | 直通單座鑄造球型閥 | |||||||||||||||||||
閥芯材質 | 1Cr18Ni9、0Cr18Ni12Mo2Ti CF8 CF8M | |||||||||||||||||||
上閥蓋形式 | 普通式(常溫型)、熱片式(中溫型)、低溫型 | |||||||||||||||||||
可調比R | 50:1 | |||||||||||||||||||
氣源接頭 | M16×1.5 | |||||||||||||||||||
注:可為用戶提供ANSI、JIS法蘭的產品,結構長度也可按用戶需要確定。
氣動單座調節閥 執行機構
型號 | ZHA-22 | ZHA-23 | ZHB-34 | ZHA-45 | ZHA-56 |
you效面積cm2 | 350 | 350 | 560 | 900 | 1600 |
行程mm | 16 | 25 | 40 | 60 | 100 |
彈簧范圍KPa | 20~100(標準):40~200; | ||||
氣動單座調節閥 性能指標
項目 | 指標值 | 項目 | 指標值 | ||||
基本誤差% | 不帶定位器 | ±5.0 | 始 | 氣關 | 不帶定位器 | 始點 | ±5.0 |
帶定位器 | ±1.0 | 終點 | ±2.5 | ||||
回差% | 不帶定位器 | ≤3.0 | 帶定位器 | 始點 | ±1.0 | ||
終點 | ±1.0 | ||||||
帶定位器 | ≤1.0 | 氣開 | 不帶定位器 | 始點 | ±2.5 | ||
終點 | ±5.0 | ||||||
死區% | 不帶定位器 | ≤3.0 | 帶定位器 | 始點 | ±1.0 | ||
終點 | ±1.0 | ||||||
帶定位器 | ≤0.4 | 允許泄漏量L/h | 1×10-4×閥額定容量 | ||||
額定行程偏差% | ±2.5 | ||||||
氣動單座調節閥 允許壓差
開關方式 | 執行機構型號 | 彈簧范圍KPa | 氣源壓力KPa | 需要附件 | 公稱通徑(閥座直徑)mm | |||||||||||||||
25 | 25 | 40 | 50 | 65 | 80 | 100 | 150 | 200 | 250 | 300 | ||||||||||
(10) | (12) | (15) | (20) | (32) | (40) | (125) | (150) | |||||||||||||
氣 關 | ZHA | 20~100 | 140 | P | 6.4 | 5.94 | 3.34 | 3.34 | 2.14 | |||||||||||
ZHA | 20~100 | 140 | P | 1.31 | 0.84 | 0.53 | ||||||||||||||
ZHA | 20~100 | 140 | P | 0.51 | 0.33 | 0.21 | ||||||||||||||
ZHA | 20~100 | 140 | P | 0.22 | 0.15 | 0.08 | ||||||||||||||
ZHA | 20~100 | 140 | P | 0.06 | 0.04 | |||||||||||||||
氣 開 | ZHB | 20~100 | 140 | P | 4.46 | 3.09 | 1.98 | 1.11 | 0.71 | |||||||||||
ZHB | 20~100 | 140 | P | 0.44 | 0.28 | 0.18 | ||||||||||||||
ZHB | 20~100 | 140 | P | 0.17 | 0.11 | 0.07 | ||||||||||||||
ZHB | 20~100 | 140 | P | 0.07 | 0.05 | 0.028 | ||||||||||||||
ZHA | 20~100 | 140 | P | 0.03 | 0.02 | |||||||||||||||
注:1)P-閥門定位器;R-壓力繼動器;
2)允許壓差為閥關閉P2=0狀態下,P的大值;
3)如果允許壓差不清楚或大工作壓差超出列表范圍請與我們聯系。

氣動單座調節閥 主要外形尺寸
DN | L | H | H1 | 質量(kg) | φA | |||||||
PN16 | PN40 | PN64 | 普通 | 高溫 | PN6 | PN16 | PN40 | PN64 | PN6 | PN40 | ||
20 | 181 | 194 | 206 | 398 | 548 | 45 | 52 | 65 | 19 | 23 | 285 | |
25 | 185 | 197 | 210 | 410 | 560 | 50 | 57 | 70 | 20 | 24 | ||
40 | 222 | 235 | 251 | 455 | 620 | 65 | 75 | 85 | 26 | 35 | ||
50 | 254 | 267 | 286 | 457 | 627 | 70 | 82 | 90 | 30 | 40 | ||
65 | 276 | 292 | 311 | 610 | 790 | 80 | 92 | 100 | 47 | 66 | 360 | |
80 | 298 | 317 | 337 | 622 | 807 | 95 | 100 | 107 | 55 | 78 | ||
100 | 352 | 368 | 394 | 640 | 850 | 105 | 110 | 117 | 125 | 65 | 99 | |
150 | 451 | 473 | 508 | 870 | 1130 | 132 | 142 | 150 | 172 | 130 | 160 | 470 |
200 | 600 | 650 | 890 | 1150 | 160 | 170 | 187 | 207 | 175 | 250 | ||
250 | 730 | 775 | 1203 | 1523 | 187 | 202 | 225 | 235 | 350 | 470 | 580 | |
300 | 850 | 900 | 1234 | 1554 | 220 | 230 | 257 | 265 | 500 | 660 | ||
良好的品質、優良的服務 奇高為你創造更多價值!
“奇高閥門”的期望,不斷提升服務質量,精益求精,“真誠的服務”是“奇高”永恒的主題。“奇高”嚴格按照IS09001-2000 質量體系認證要求,質量嚴格把關, 責任到人,確保生產、銷售、服務的健康運行。加強與用戶溝通,竭誠為廣大客戶提供優良產品,貼心服務。特此我廠做出以下承諾:
產品標準:
產品嚴格按照中國GB、HG 標準和美國API等標準設計、制造、驗收。密封面硬度達到國家規定要求,寬度超過國家標準。
售前服務:
產品介紹,技術交流,非標產品設計,疑難解答。
售中服務:
守信合同,及時供貨,隨時保持與客戶聯系。 對特殊或復制的產品,我廠安排技術人員對用戶進行產品使用、故障排除
售后服務:
1、“奇高”牌產品品質期為自出廠起12個月,實行“三包”服務(包退、包換、保修)。
2、產品在使用中我廠定期組織技術、質檢人員進行訪問,征詢用戶對產品質量、 使用狀況、改進意見等方面的反饋, 以便進一步提高產品質量。
3、對用戶投訴質量問題,快速作出反應,售后服務人員在24-36小時(省外48小時)趕赴現場。
4、對售后服務,要求用戶填寫服務后的質量反饋信息表,并作出鑒定意見,以便提高奇高的服務質量。
1、客戶如對產品有特殊要求,須在訂貨合同中提供以下說明:
a、結構長度;
b、連接形式;
c、公稱直徑、全通徑、縮徑、管道尺寸;
d、運行介質及溫度、壓力范圍;
e、試驗、檢驗標準及其他要求
2、本廠可根據客戶特定要求配置各類驅動裝置。
3、如由客戶提供確定的閥門類型和型號時,客戶應正確說明其型號的含義和要求,在供需雙方理解一致的條件下簽訂合同。
4、期貨、訂貨的客戶請先來電函詳細告訴所需的閥門型號、規格、數量以及交貨時間、地點,并按總的30%預定金或全額貨款及時匯入我廠帳戶,其余貨款待發貨前匯入,以便及時安排發貨。
訂單流程:
1、客戶采購清單傳真至021-33872143,或來電咨詢 021-33872141
2、收到客戶采購清單,為客戶提供閥門型號選型與報價(價格清單)。
3、具體商定:交貨期、特殊要求等事宜。
訂貨須知:
1、客戶如對產品有特殊要求,須在訂貨合同中提供以下說明:
|
|||||
|
|||||
2、本廠可根據客戶特定要求配置各類驅動裝置。
|
|||||
3、如由客戶提供確定的閥門類型和型號時,客戶應正確說明其型號的含義和要求,在供需雙方理解一致的條件下簽訂合同。
|
|||||
4、期貨、訂貨的客戶請先來電函詳細告訴所需的閥門型號、規格、數量以及交貨時間、地點,并按總的30%預定金或全額貨款及時匯入我廠賬戶, 其余貨款待發貨前匯入,以便及時安排發貨。
|
售中服務:
守信合同,及時供貨,隨時保持與客戶聯系。
對特殊或復制的產品,我廠安排技術人員對用戶進行產品使用、故障排除
售后服務:
1、“奇高”產品品質期為自出廠起12個月,實行“三包”服務(包退、包換、保修)。
2、產品在使用中我廠定期組織技術、質檢人員進行訪問,征詢用戶對產品質量、使用狀況、改進意見等方面的反饋,
以便進一步提高產品質量。
3、對用戶投訴質量問題,快速作出反應,售后服務人員在24-36小時(省外48小時)趕赴現場。
4、對售后服務,要求用戶填寫服務后的質量反饋信息表,并作出鑒定意見,以便提高“奇高”的服務質量。
聲明 |
|